09-22
09-19
09-18
09-17
09-16
09-15
李俊松???發布時間:2020-08-03 17:29:51
根據香港特區政府衛生署8月2日通報,全港新增115例新冠肺炎確證病例,來源均為本土感染,累計確診病例達到3512例,香港新冠肺炎防控形勢區域嚴峻,國家衛健委迅速組建核酸檢測支援隊以及方艙醫院支援隊,協助香港特區政府抗擊疫情。

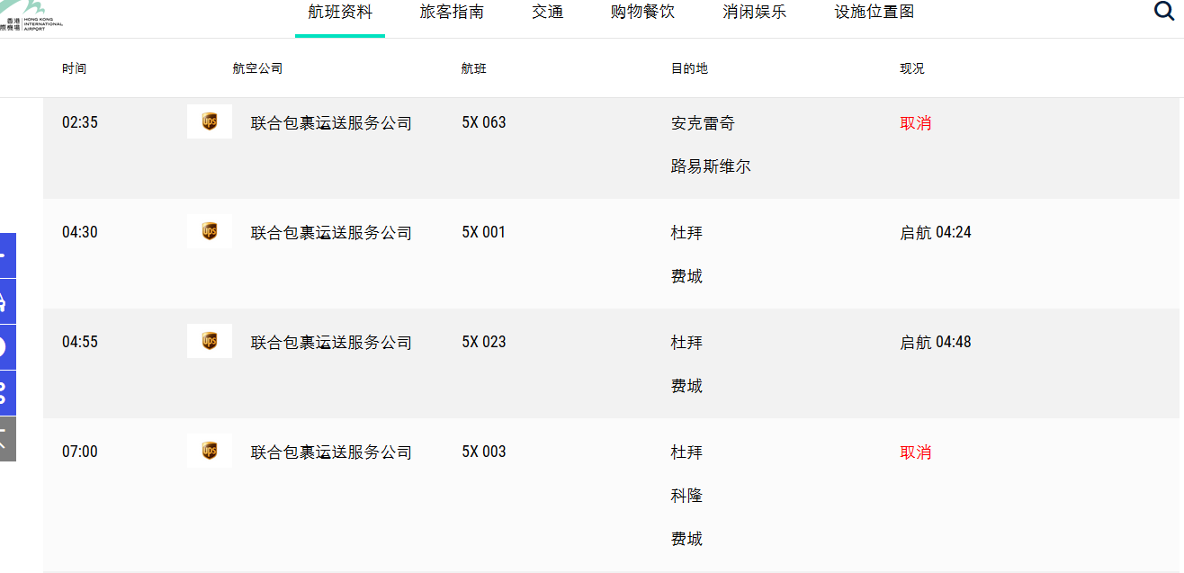
香港疫情再次復發,疫情防控趨于嚴格,國際航班航線將再次受到影響。據了解,香港UPS將大面積取消航班,一些物流、貨代公司也開始暫停收貨,深圳某貨代公司工作人員表示“由于香港UPS大面積取消航班,美東航班已經緊缺,此渠道暫停收貨。”
香港UPS大面積取消航班,無疑會使得貨運航班由充足轉向緊張,在貨量變化總體不大的情況下,空運價格不可避免會上漲。一些數據也從側面證實,香港UPS快遞開始上調運價。據了解,從香港到北美物流運價連續兩周上升,相比去年同期上漲50%。部分物流公司通知也表示,DHL、TNT、UPS以及美國亞馬遜FBA頭程價格上調。
除價格上漲,貨物物流過程中,也會出現一定程度的受阻。基于安全方面的考慮,香港政府開始收緊了對機組人員、船員的檢測安排,加之一些列防疫措施的事實,后續貨物的運輸各節點會受到嚴重的影響,可能會加長貨物的物流時效。
針對香港UPS航班取消導致的物流上漲以及香港疫情防控收嚴導致物流受阻,給大家以下幾點建議:
1、更改運輸路線
香港作為國際航線的重要中轉連接港口,疫情復發會對航線、貨物出口帶來巨大影響。不僅香港UPS、香港DHL、香港Fedex等商業快遞帶來影響,從香港起運的其他物流渠道,也會帶來諸多影響,價格昂貴、時效變慢不可避免。
為避免物流成本提升、時效受阻,跨境電商賣家可以通過更換發貨物流渠道,來避免受到影響。一般普通貨物,可以選擇大陸DHL、大陸UPS、大陸Fedex進行郵寄,帶電、液體等敏感類貨物,可以走福建E郵寶,從臺灣轉運,具有較強的運力。
2、尋找優質代理
商業快遞物流價格,可以通過選擇優質代理進行價格對沖。一般賣家使用的UPS、DHL渠道資源,基本都是三級代理或者更低級代理。如果能與二級代理甚至一級代理合作發貨,那么則能以較低的價格收貨。
泰嘉物流是DHL、UPS的一級代理,Fedex的優質代理,DHL、UPS一級渠道可低至官方2-3折價格收貨,Fedex快遞可低至官方3-4折的價格收貨。
3、確保貨物運輸倉位
到了8月,要開始進入下半年的跨境電商旺季。賣家不僅要降低物流成本、確保貨物的物流時效,還需要保障貨物的運輸倉位。如果旺季來臨,貨量劇增或者現在需要補貨亞馬遜倉庫,如果沒有沒有倉位有貨無法發出,那么損失會非常大。
4、做好與客戶的溝通
與客戶的溝通是很有必要的,提前給客戶打好預防針,能夠獲取客戶的理解。時效沒有受阻,皆大歡喜,如果時效受阻,客戶也能理解。
5、亞馬遜FBA賣家提前備貨
每年的8月-9月,是亞馬遜FBA賣家的備貨時期,在新冠疫情這個特殊的背景下。建議亞馬遜賣家盡可能提前備貨。早先,美國亞馬遜由于疫情、暴亂雙重影響,倉庫爆倉貨物抵達美國無法入庫,商品無法上架銷售,非常尷尬。
下半年旺季將來臨,為確保亞馬遜倉庫有充足的商品可以銷售,賣家需要提前做好備貨計劃與物流方案。
6、及時關注物流動態
及時關注物流動態,了解國內外形勢,積極調整備貨以及發貨計劃。
未經泰嘉物流同意 不得轉載